Суточная потребность зимой

Сколько воды требуется кролику, зависит от возраста, состояния здоровья животного, а также особенностей кормления.
Если основу рациона составляют сухие корма, то норма воды увеличивается примерно на 0,5 л.
Что касается суточной потребности в жидкости в зимние месяцы, то она следующая:
- молодые кролики за 24 часа выпивают не менее 1,5 л;
- взрослые особи потребляют от 500 мл до 1 л в день;
- беременные крольчихи пьют от 1,5 до 2 л;
- самки, кормящие потомство, выпивают до 2 л воды в сутки.
Наибольшее количество жидкости потребляют крольчихи после родовой деятельности.
Первые 3-5 суток после окрола животное может выпивать до 2,5 л воды в сутки, что необходимо для восполнения потери влаги.
Именно поэтому каждый фермер должен следить за наличием жидкости в поилках у разродившихся крольчих. Дефицит воды нередко приводит к тому, что самка начинает поедать собственное потомство.
Какие можно сделать кроличьи поилки
Разнообразие видов и вариантов, как сделать поилку для кроликов своими руками, насчитывает десятки видов, у каждого из которых есть свои преимущества и недочеты, для каждого могут использоваться разные подручные средства и материалы.
- Чашечная поилка для кроликов может служить и как кормушка, это самые простые в изготовлении, доступные и можно сказать примитивные самодельные поилки для кроликов. Чтобы сделать такой поильник чаще всего используются тарелки и миски, пластиковые бутылки и консервные банки. Среди основных требований — предупреждение переворачивания, потому немаловажным фактором является способ крепления устройства к клетке. Иногда поилка чашечная самодельная для кроликов требует утяжеления, чтоб не переворачивали ее зверьки. Утяжеляют такую конструкцию подвешивая груз с внешней стороны либо крепят его используя шуруп (лучше подвесить так надежнее).
- Полуавтоматические устройства пополняются водой в автоматическом режиме из предназначенной для этой цели емкости, в качестве которой может быть использован бачок либо пластиковая бутыль. Чашка для такого полуавтомата крепится съемным методом, посредством нижнего крепления регулируют уровень воды. Обычно такая полуавтоматическая вакуумная поилка крепится на расстоянии 3 см от уровня пола и 3 см от стенки клетки, что обеспечивает наибольшую защиту от попадания мусора и экскрементов ушастых питомцев.
- Автоматическая ниппельная поилка для кроликов сегодня обрела своего потребителя и является наиболее востребованной. Раньше автопоилка для кроликов сделанная своими руками встречалась только на больших фермах. Но постепенно стали применять и на частных хозяйствах. Конструкция ниппельной автопоилки для кроликов состоит из водонакопительной распределительной емкости, от которой отходят трубки по направлению к клеткам. Эти конструкции оборудованы специальным ниппелем в виде шарика (крышка), при надавливании на который начинает течь вода.
При квартирном содержании, когда живет один декоративный кролик, самым удобным вариантом станет покупная автопоилка. А при промышленном содержании можно сделать поилки для кроликов своими руками.
Самодельные приспособления подачи воды для кролей не боятся повреждений, в случае чего их исправить намного проще чем покупное оборудование. Вакуумная поилка надежнее, и сделать ее будет не труднее чем автоматическую.
Плюсы и минусы
У этого важного устройства много достоинств:
- постоянное наличие питьевой воды, которая не будет содержать грязи и мусора, а пол клетки останется сухим;
- если требуется дать зверьку лекарство или витамины, их можно просто растворить в воде;
- немаловажен и тот факт, что поилки свободно и в большом многообразии представлены на полках магазинов, что позволяет выбрать изделие, ориентируясь на потребности;
- зимой правильно подобранная и установленная поилка способна постоянно снабжать животных питьевой водой, которая не замерзнет, но при этом не даст лишней влаги, а значит, питомец не будет мерзнуть;
- монтаж и эксплуатация не вызывают сложностей.

Среди недостатков можно отметить, что при несоблюдении определенных условий в зимний период вода быстро замерзает. Обычно емкости имеют не слишком большой объем, что вынуждает следить за их постоянным пополнением. Кроме того, после длительной эксплуатации зачастую начинают подтекать крышки, и требуется их замена.

Поилки для кроликов представлены в широком многообразии, и каждый из видов имеет определенные достоинства и недостатки. Кто-то предпочитает вакуумные или капельные, кому-то важны незамерзающие или антибактериальные. Некоторые хозяева изготавливают устройство своими руками, тем самым избавляя себя от лишних трат.

Чашечные
Наверное, это наиболее экономный и часто используемый вид поилок. Их роль могут выполнять различные емкости, такие как миски, тарелки, банки и многое другое, что просто устанавливается в клетке. Однако, устанавливая чашу, необходимо позаботиться о надежном креплении, чтобы кролик не смог перевернуть изделие.
Что касается недостатков, нельзя исключать, что животное выберет данную емкость в качестве туалета. А также не исключается вероятность опрокидывания, а это не только лишит кролика воды, но и приведет к тому, что неубранная вовремя намокшая подстилка начнет гнить. Кроме того, в условиях влажности в ней могут довольно быстро развиваться микробы и болезнетворные бактерии, что зачастую приводит к болезням домашних животных. А также открытая поилка никак не защищена от попадания мусора, шерсти и грязи, что делает воду непригодной для питья.
Ниппельные
Данный вид подстилок также чрезвычайно распространен среди любителей кроликов. Он чрезвычайно удобен и практически не имеет недостатков. Нельзя не отметить то, что вода в таком устройстве постоянно чистая: емкость является закрытой, а кролик получает жидкость, нажимая язычком на клапан. Данный агрегат вполне можно изготовить своими руками, сделав несколько выходов, что позволит обеспечить питьем несколько зверьков одновременно. Есть у таких поилок и другие преимущества:
- легко контролировать количество воды, ведь чаще всего они почти или совсем прозрачные;
- если животное заболело, его можно снабдить индивидуальной емкостью, в которую удобно добавлять лекарство;
- кролики не испытывают недостатка жидкости, так как могут пить когда и сколько угодно;
- вода не проливается, так как попадает сразу в рот зверьку.

Несмотря на это, существуют и минусы. К ним можно отнести затраты на такие поилки, хоть и невысокие. Если животные содержатся в неотапливаемом помещении, вода может замерзнуть при низких температурах, а значит, ее поступление будет ограничено.

Вакуумные
Довольно эффективный, но не самый безопасный вид поилок. При использовании вакуумных устройств необходимо учитывать некоторые нюансы:
- возможное попадание грязи в емкость с жидкостью;
- способность опрокинуться при внешнем воздействии, что грозит выливанием большого количества воды прямо в клетку;
- возможность замерзания воды при низких температурах.
О чашках и пластиковых бутылках
В домашнем хозяйстве намного чаще пользуются именно чашечными поилками для кроликов. По сути, в качестве резервуара, устанавливаемого в клетке, может выступать любая емкость, подходящего размера и объема.
Именно доступность такого вида поильника и является его основным преимуществом. К недостаткам относится то, что кролик может легко опрокинуть емкость или засорить воду сеном или продуктами жизнедеятельности.

Если использование автоматических поилок для кроликов гарантирует, что ушастики круглосуточно обеспечены водой, то за состоянием воды в чаше нужно постоянно наблюдать. Кроме того, поение кроликов зимой усложняется тем, что вода в емкости замерзает даже при небольшом морозе.
При содержании кроликов применяются и капельные поилки, их иногда называют еще полуавтоматическими или вакуумными. Состоит такая конструкция из съемной емкости для воды и непосредственно поильника.
Чаще всего капельная поилка изготавливается именно из пластиковой бутылки, которая и выступает в роли накопительного резервуара. Бутылка ставиться горлышком на емкость, из которой ушастики смогут пить. По мере необходимости вода поступает самотеком.

Преимуществом поилок для кроликов из пластиковых бутылок является простота их изготовления и использования. Среди недостатков можно выделить возможность случайного опрокидывания накопительного резервуара и постоянное засорение емкости для питья.
Способы изготовления поилок своими руками
Способ №1 Если вам подходит именно чашечный способ, то вам не придется ничего мастерить своими руками. Достаточно поставить в клетку пластиковую или металлическую емкость, которая будет подходить по размеру.
В качестве таких поилок можно использовать бюджетный вариант:
- тарелочки;
- мисочки; горшочки;
- ёмкости из-под консервов и других продуктов (небольшой круглой формы);
- обрезанные пластиковые бутылки.
Для закрепления устройства потребуются следующие материалы:
- большие прищепки;
- проволока;
- хомуты;
- полоски жести или нержавейки;
- гайки, винты, шайбы;
- другие расходники.
Советы по поводу устойчивости тары:
- вбейте в боковую стенку клетки два гвоздя один над другим;
- загните гвозди в виде петель;
- в петли вставьте длинный гвоздь, чтобы шляпкой он держался в верхней петле, проходил через нижнюю петлю и острием упирался в дно поилки.
Лучше всего для выпаивания кроликов подойдут миски из пластика или металла, желательно, эмалированного, высота бортиков которых не будет превышать трех – четырех сантиметров.
Диаметр такой миски должен составлять не менее 15-20 сантиметров на одно проживающее в клетке животное. Если же ушастых в домике проживает больше, лучше взять тару иной величины.
Способ №2 Ниппельная поилка – более сложная конструкция, для изготовления которой вам понадобится сноровка и чуть большее количество необходимых материалов.
Для изготовления ниппельной поилки нужно приготовить небольшую пластиковую емкость, купить в зоомагазине готовый ниппель, заготовить крепления для поилки. Далее в бутылку наливается жидкость, на горлышко накручивается ниппель, после чего поилка закрепляется на клетке.
Однако при низкой температуре зимой вода в ниппельной поилке быстро замерзает. Да и объем у таких поилок небольшой, для нескольких кроликов придется доливать воду не один раз за сутки, а возиться с открыванием и закрыванием крышки ниппельной поилки весьма утомительно.
Такие поилки наиболее практичны: вода чистая и не испаряется (отсюда малый расход), пролить ее малореально даже для мощного взрослого кроля. К тому же это отличный метод для одновременной подачи витаминных или лечебных растворов во все клетки.
Самодельный вариант ниппельной автопоилки может быть выполнен следующим образом: в бутылку вставляется трубка с ниппелем, весь агрегат укрепляют снаружи клетки хомутами
Способ №3 Проще всего такую поилку сделать из пластиковых бутылок, так как именно этот материал будет соответствовать всем предъявляемым к данному предмету инвентаря требованиям:
- он не токсичен;
- удобен в использовании;
- стоит дешево, а с учетом того, что бутылки остаются обычно, как мусор, вообще ничего не стоит;
- легко моется.
Чтобы сделать вакуумную поилку своими руками, нужно приготовить пластиковую бутылку, миску с гладкими краями и держатели. Далее миску закрепляют на высоте 10 см от пола (это нужно для того, чтобы животные не залазили вовнутрь). Над миской крепят бутылку горлышком вниз.
Есть один момент, связанный с их использованием – кроли (особенно молодые) могут за неделю – вторую сгрызть такую емкость. Поэтому есть смысл сделать более надежную вакуумную систему.
Поилки для нескольких особей или клеток
Такую поилку выполняют из 100 мм уголка и трубы.
Алгоритм изготовления:
- 1.Берут отрезок ПВХ трубу на 10-15 см больше передней стороны клетки. В ней прорезают несколько маленьких или одно большое прямоугольное отверстие.
- 2.В клетке с боков (у передней стенки) снимают несколько прутьев и вставляют трубу, чтобы она выходила с обеих сторон.
- 3.На одну часть устройства ставят заглушку. На вторую сторону уголок.
- 4.Дверь клетки располагают выше устройства.
Можно срезать трубу до половины. Лучше сделать одно длинное отверстие. При этом будет легче чистить дно приспособления, если оно испачкается или зацветет.
Если у вас несколько рядов клеток, расположенных на одном уровне – насаживают дополнительные трубы, прорезанные аналогичным способом, фитинги и пропускают созданный трубопровод во все «квартирки» животных. Для того чтобы поилки всегда были чистыми, удобнее всего использовать небольшие емкости. Например, не более чем 0,5 литра.
Настройка и проверка работоспособности.
После того как система полностью смонтирована, открываем запорный кран и наблюдаем за заполнением накопительного бачка. При необходимости устраняем течь или ремонтируем (меняем на новый) отсекающий клапан. После поднятия воды в бачке до определённого уровня, вода начнёт поступать в корытца. Тщательно выставляем корытца по высоте, добиваясь необходимого уровня воды в них: 5 -10 мм от края и прочно закрепляем на дверках.
Если какая либо поилка переполняется, то необходимо её переместить вверх. Если же уровень воды в корытце мал, перемещаем её в обратном направлении. Окончательную регулировку уровней воды в накопительных бачках, а значит и в корытцах осуществляем путём вращения регулировочных винтов поплавковых клапанов (см рисунок).
Сухой рукой или тряпочкой проводим по всем соединениям трубочек. При обнаружении даже незначительной влаги подтягиваем резьбовые соединения, делаем дополнительные проволочные хомуты на тройничках. Откройте каждую дверку и проверьте трубочки на отсутствие пережатий или изломов.
Если в системе водопровода вода слишком грязная, можно применить фильтры грубой очистки, отстойники. Если у вас нет водопровода вообще, можно установить вместо накопительного бачка ёмкость побольше. Если имеется возможность собирать дождевую воду, можно устроить пополнение этой ёмкости автоматически. В общем всё зависит от вашей изобретательности и предприимчивости. Желаю удачи.
Особенности зимних поилок
В холодное время года вода в обычных поилках быстро замерзает.Чтобы избежать этого, хозяевам зверьков необходимо утеплить такую конструкцию. В более теплых регионах можно обернуть поилку пенопластом, сеном, строительным утеплителем или другими материалами, обеспечивающими термоизоляцию поилки. В тех регионах, где температура воздуха зимой опускается ниже -10 градусов Цельсия, такого утепления для поилок недостаточно — вода в них будет замерзать все равно. В таких случаях рекомендуется обогревать конструкции за счет электроэнергии. Для ухода за декоративными породами, поилки с обогревом можно приобрести в специальных магазинах либо же смонтировать собственными руками. Про Калмыцкую породу коров можно прочитать здесь.
Конструкции с подогревом зимой
Для обеспечения кроликов в холодное время года свежей водой можно использовать несколько разновидностей конструкций с подогревом:
- Поилки с встроенным терморегулятором. Наиболее экономичны и просты в сборке. Позволяют запускать процессы подогрева воды только в тех случаях, когда температура воды в емкости падает.
- Конструкции, которые обогреваются посредством ламп. Более сложны в организации и требуют постоянного наблюдения со стороны кроликозаводчиков. Их плюс в том, что они позволяют экономно расходовать электроэнергию.
- Поилки, которые закрепляются на нагревательных поверхностях, работающих по принципу «теплый пол». Позволяют использовать любые типы емкостей, могут работать как на электрической, так и на водной системе обогрева. Минус таких конструкций в том, что они имеют более высокие теплопотери, нежели два предыдущих вида, а потому с экономической точки зрения считаются неэффективными.

Пример чашечной поилки с подогревом
Все представленные типы поилок требуют особого внимания во время эксплуатации со стороны кроликозаводчика. Он должен следить за тем, чтобы система обогрева работала без перебоев, в резервуаре с водой было достаточно жидкости, а емкости поилок, из которых получают воду животные, не засорялись кормом или мелким мусором, поскольку это может привети к поносу и другим заболеваниям. Про поилки для перепелов читайте в этом материале.
Про содержание телят в домашних условиях можно прочесть в этой статье.
Какие бывают виды поилок
Сейчас существует много разновидностей поилок для кроликов. Все они имеют свои недостатки и преимущества.
| Поилки для кроликов, которые используются на практике | Как выглядит | Фото | Преимущество | Недостаток |
|---|---|---|---|---|
| Чашечная емкость для воды | Контейнеры, миски или обрезанные пластиковые бутылки после воды. | ![]() | Экономичный и общедоступный вариант. | Чашечный поильник легко переворачивается; нужно часто менять воду; не защищает от попадания шерсти животных, корма, фекалий. |
| Емкость ниппельная сосковая или Капельная поилка для кроликов | Закрытый герметично резервуар с дозатором (автопоилка). | ![]() ![]() | Исключено вытекание жидкости при переворачивании; дозированная автоматическая подача; расход жидкости минимален, так как она не испаряется; исключается проливание; подходит для дачи витаминов или лекарственных средств; питье защищено от загрязнений. | В зимние дни вода в резервуарах замерзает; частое пополнение запасов приводит к подтеканию крышки. |
| Вакуумная система поилки для кроликов | Конструкция с двух резервуаров, где жидкость самотеком попадает с дополнительной емкости в основной резервуар. | ![]() | Можно изготовить самостоятельно; конструкция используется в основе автоматизированных модульных систем; подойдёт для выпаивания большого количества животных одновременно; подача жидкости в поилку по мере надобности; простота в использовании и изготовлении. | Вода может вытекать с чаши, а зимой быстро замерзает. |
| Из пластиковой бутылки | Пластиковая емкость ручного изготовления. | Дешёвый вариант. | Недолговечность, зверьки могут прогрызть, при минусовой температуре – быстро замерзает жидкость. | |
| Поилка из трубы ПВХ | Обрезанная ПВХ труба с заглушкой, в которую вставляют емкость с водой. | ![]() | Нет необходимости составлять чертежи; можно изготавливать и устанавливать самостоятельно. | Большая вероятность попадания грязи, экскрементов; переворачивается; нельзя использовать канализационный пластик или материал, бывший в употребление. |
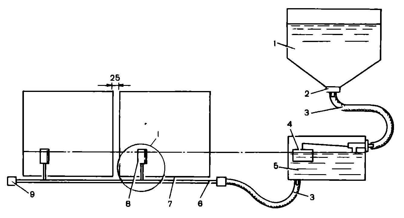
| Автономная поилка | Автономная система подачи воды. Бункерная кормушка в сочетании с модулями поильных систем полностью автоматизирует подачу необходимых ресурсов на большой ферме. | ![]() Устройство таких поилок состоит из нескольких частей: • резервуар с подготовленной водой (1); • распределительный резервуар (5); • нужное количество распределительных шлангов (3); • очищающий фильтр (2); • бак (5); • магистральные трубы (6); • клетки (7); • поильник (8); • поплавок (4); • ревизионный кран (9). ![]() | Значительно упрощают процесс выпаивания; оптимальный вариант для больших фермерских хозяйств. | Дорогостоящий вариант; не подходит заводчикам домашних кроликов. |
| Зимние варианты поилок | • Поилки с подогревом поддона • Ламповые подогревы • Поилки со встроенным терморегулятором | ![]() ![]() ![]() | Используются в холодное время года; дополнительно обогревают клетку; поддерживают оптимальную температуру воды. | Энергозависимые; небезопасны в использовании. |
При использовании ниппельных поилок часто возникает проблема с подачей питья. Причина поломки — проблема с шариком. Чтобы отремонтировать устройство, нужно проверить его подвижность, а также угол наклона поилки.



































































